В Apple Watch появятся сменные задние панели

18 apr. 2018, 15:00
1015

Apple неустанно рассматривает возможности внедрения в Apple Watch новых полезных функций. Некоторые дополнения могут привести к серьезному изменению конструкции и появлению сменных задних панелей, сообщает Apple Insider.

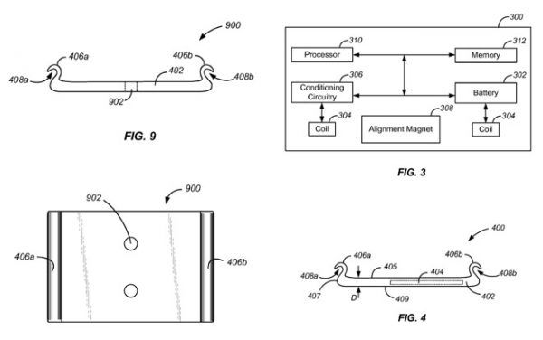
Датчики, измеряющие пульс, ёмкие батареи и другие аксессуары для Apple Watch должны к чему-то крепиться. Поэтому 17 апреля 2018 года корпорация Apple получила патент на устройство, которое позволит добавить пластину на заднюю стенку смарт-часов и не помешает креплению ремешков.

Новый конструкционный элемент не повлияет на вид фронтальной панели. Однако при взгляде сбоку умные часы станут заметно толще. Корпус Apple Watch будет удерживаться при помощи магнита.

Инженеры корпорации считают, что пластина поможет продлить срок службы аккумулятора часов, поскольку в ней содержаться элементы беспроводных зарядных устройств.

Патентная заявка была подана в конце февраля 2015 года. Неизвестно, когда начнется производство устройства, и есть ли у Apple подобные планы.

Умные часы в каталоге Price.md

Присоединяйтесь к нам в Facebook

Sursa: macdigger-ru
0 comentarii Adăugați
0 comentarii. adaugă
Greseli:

link la video

  • Linkul catre video nu este corect!