Canon предлагает встраивать дактилоскопические сканеры в фотокамеры и объективы

02 февр. 2018, 09:00
690

Управление США по патентам и торговым маркам (USPTO) опубликовало патентную заявку Canon на любопытную разработку в сфере фототехники.

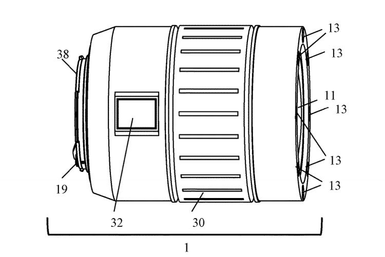
Документ озаглавлен «Electronic apparatus having finger authenticating function» — электронный аппарат с функцией аутентификации по пальцу. Речь идёт об интеграции дактилоскопических сканеров в корпус фотокамер и объективов.

Canon выделяет несколько сценариев использования системы. Один из самых очевидных — обеспечение безопасности. Как и в случае со смартфонами, дактилоскопический сенсор будет служить для проверки личности пользователя и снятия блокировки с фотоаппарата или объектива. Таким образом, можно будет предотвратить несанкционированное использование фототехники.

Кроме того, датчик отпечатков пальцев сможет выполнять функции программируемой кнопки. Его можно будет настроить на выполнение определённых действий, которые будут активироваться в зависимости от того, каким пальцем пользователь прикоснулся к сенсору.

Наконец, третий сценарий — создание профилей нескольких пользователей. Распознав человека по отпечатку пальца, устройство автоматически загрузит соответствующий набор заранее определённых настроек. 

Фото и оптика в каталоге Price.md

Присоединяйтесь к нам в Facebook

Источник: 3dnews-ru
0 комментария Добавить
0 коммент. Добавить
Ошибки:

ссылка на видео

  • Ссылка на видео неправильная